H Beam Welding Line
H-beam welding lines are used to assemble and weld steel plates into H-beams for heavy steel structure production. From assembly to welding, flipping, transfer, and straightening, each step follows the next in sequence until the H-beam is completed. After years of refinement and use in real production settings, these structural steel processing lines have become a widely used solution in steel structure fabrication and are now operating in more than 1,000 customer facilities worldwide.
As a newer generation of structural steel welding lines independently developed by Yangtong, H-beam welding lines are available in three standard sizes based on the maximum H-beam height: 1.5 m, 1.8 m, and 2.0 m. Among them, the 2.0 m version is a mature standard configuration and is used here as the reference for a more detailed introduction.
A typical 2.0 m H-beam production line mainly includes the following:
- Z20B Steel H-Beam Assembly Machine (1 unit)
- 90° Hydraulic Flipper (1 set, 3 units)
- LHC H-Beam Welding Machine (4 units)
- YGJ20 Steel Beam Transfer Unit (2 sets, 4 units)
- 60° Hydraulic Flipper (4 sets, 12 units)
- YF2020 Mobile 180° Hydraulic Flipper (2 sets, 4 units)
- YTJ-60 H-Beam Flange Straightening Machine (1 unit)
- Heavy-Duty Roller Conveyor (1 set)
-
Cutting (flange plate, web plate, flange plate) -
T-beam assembly -
H-beam assembly -
90° flipping -
Weld seam 1 -
Weld seam 2 -
180° flipping and transfer -
Weld seam 3 -
Weld seam 4 -
90° flipping and transfer -
Flange straightening I -
180° flipping -
Flange straightening II -
End-face machining -
Fit-up and assembly welding -
Shot blasting -
Painting -
Final inspection and storage
-
- Web height: 160–2000mm (for web heights under 260mm, simply remove the two central web clamping rollers)
- Web thickness: 6–80mm
- Flange width: 140–800mm (supports asymmetrical H-beams, allows each side to range from 70mm to 400mm)
- Flange thickness: 6–80mm
- Workpiece length: 4000–15000mm
- Workpiece weight: <20t
- Welding speed (at 3Hz): 360mm/min
- Idle travel speed (at 30Hz): 3600mm/min
- Rapid conveying speed (at 50Hz): 6000mm/min
- Input roller conveyor: 2600mm×4 sections (including two motorized sections, one powered by the main machine motor)
- Output roller conveyor: 2600mm×4 sections (including two motorized sections, one powered by the main machine motor)
- Electrical control system: AC inverter with integrated PLC (programmable logic controller)
- Total installed power: 18.7kW
- CO₂ welder rated capacity: 18.1kVA×2 units
- Power supply: 3-Phase, AC 380V, 50Hz
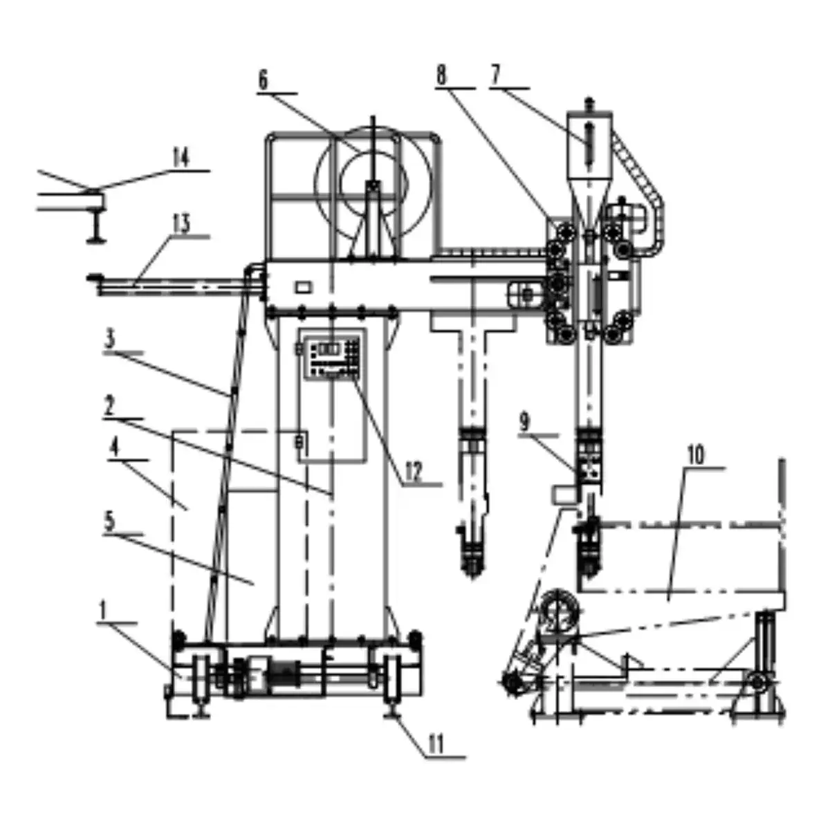
Z20B Steel H-Beam Assembly Machine
- These H-beam welding lines are already widely used in the steel structure industry. More than 800 heavy-duty lines have been supplied to manufacturers in China, and nearly 100 have been exported to countries such as Iran, Ukraine, Vietnam, South Korea, and India.
- The production flow is arranged in a well-coordinated way, so the welding line runs more smoothly from one stage to the next. This layout makes automatic production easier to achieve, and in normal operation, overhead crane support is only required during assembly and final unloading.
- Travel and conveying speeds are shown digitally. This makes operation easier for workers and helps improve production control and processing consistency.
- The movable 180° hydraulic flipper can travel along rails, so flipping is not limited to one fixed position. Hydraulic operation also reduces the impact on the support structure during flipping, which improves stability and safety.
- The cantilever type structural steel beam welding system is equipped with a digital speed display, which makes the welding speed easier to check and adjust during operation. Its dual-axis dual-drive traveling system, combined with mechanical and pneumatic seam tracking, helps the welding head move more steadily along the seam and supports more consistent welding quality.
- The 60° hydraulic flipping system can be positioned at any angle from 0° to 60°. This design is suitable not only for standard symmetrical H-beams, but also for asymmetric H-beams that require non-45° boat-position welding.
-
Watch Videos
Steel H Beam Welding Line Animation -
Watch Videos
Steel H Beam Welding Line













